更新日期
1. 简介
1.1 功能概述
日志是用于查看和管理流程执行的重要工具。在此页面,用户不仅可以快速检索锁定流程某次执行的日志,还能实时监控工作流的运行状态,并帮助用户及时发现流程卡点、与执行出错的原因。
1.2 应用场景
- 流程监控:管理员通过查看“等待”或“运行中”状态的日志,监控某流程的执行进度。
- 故障排查:当业务数据处理异常时,管理员通过“原因”字段和日志详情,快速定位错误原因。
- 历史审计与合规:审计人员通过“完成”状态的日志及触发时间,核查特定时间段内的数据处理记录,确保业务操作留痕。
- 紧急干预:当发现流程配置错误或数据异常时,立即使用“终止”操作停止后续节点的执行,避免错误扩散。
2. 页面入口
用户可通过以下路径进入日志页面:
- 流程卡片底部:在「工作流管理」页面,点击流程卡片底部的「日志」按钮进入流程日志列表页。
- 流程编辑页:在流程编辑页面,点击左上方「日志」按钮直接跳转至对应流程的日志列表。

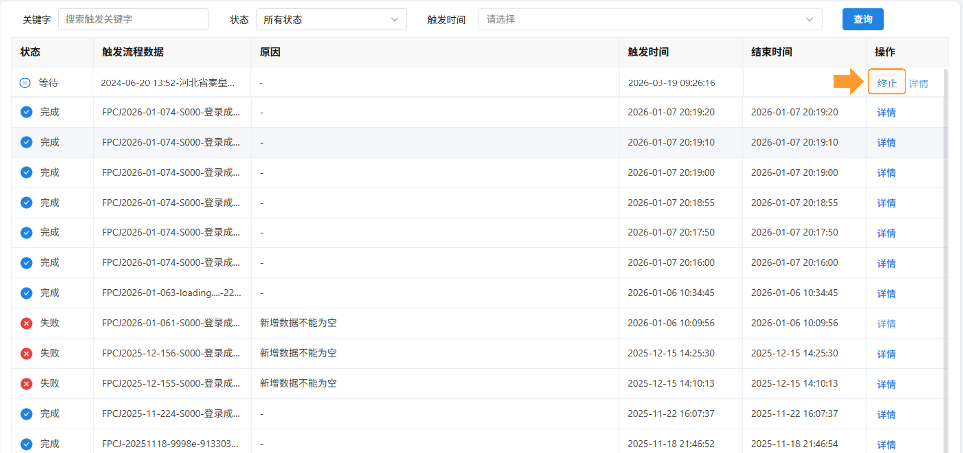
3. 显示日志信息
搜索结果以列表形式展示,包含以下核心字段:
| 字段名称 | 说明 |
| 状态 |
标识工作流某次运行的当前阶段:
|
| 触发流程数据 | 本次流程运行所处理的数据标识。格式为:使用各项数据ID以“-”符号拼接的字符串(例如:DATA-1001-20231001)。 |
| 原因 | 仅在状态为“失败”时显示。简要描述工作流运行失败的主要原因(如:数据为空、权限不足、数据格式错误等)。 |
| 触发时间 | 记录流程某次运行的开始时间。 |
| 结束时间 | 录流程某次运行的结束时间。若状态为“等待”,则结束时间显示“-”。 |
| 操作 | 提供对单条日志的交互按钮: • 终止:仅对“等待”状态生效,点击后弹出确认框,强制停止流程。 • 详情:点击打开「日志详情」窗口。 |

4. 日志搜索
在日志页面,可以在上方搜索栏中对流程日志进行搜索。系统提供多维度筛选能力,帮助用户从海量记录中精准定位目标。
4.1 按关键字搜索
支持输入触发流程数据id的关键字进行模糊匹配。

4.2 使用状态搜索
提供状态下拉筛选框,支持单选或多选流程的运行状态:
- 所有状态:筛选所有状态的流程日志;
- 完成:筛选运行成功并正常结束的流程日志;
- 进行中:筛选正在运行中的流程日志;
- 失败:筛选执行报错的流程;
- 终止:筛选被手动停止或超时强制停止的流程。

4.3 按触发时间搜索
提供时间范围选择器,支持按“动态筛选”“时间范围”或“自定义”进行区间筛选:
- 时间范围:用户可手动选择起始日期和结束日期,可精确到时分秒。
- 自定义:根据时间轴以年/季/月等为时间单位筛选一[年/季/月...]前到一[年/季/月...]后的流程日志。
- 动态筛选:今天、昨天、最近7天、最近30天、本月等常用时间筛选范围。

5. 终止流程
对于正在运行中的流程,在流程状态中会显示“等待”,在操作列中会显示「终止」按钮,点击可以提前终止流程。则状态列中该流程状态会由“等待”转为“终止”。

6. 查看日志详情
点击操作列的「详情」按钮,系统弹出「日志详情」窗口。该窗口以列表形式展示工作流内部各节点的执行情况。

失败原因查看:
